| : | Apr 21, 2004 |
_files/LoadAsset.jpg)
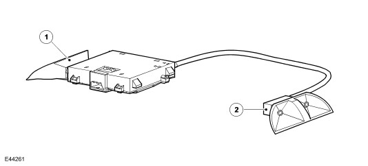
| 1 | - | Alarm indicator |
| 2 | - | Volumetric sensor |
| 3 | - | BBUS |
_files\LoadAsset(1).jpg)
| Status | Description | Alarm Indicator |
|---|---|---|
| 0 - Disarmed | When system disarmed. Also first 10 seconds after being armed with a panel open. | Off. |
| 1 - Armed | Entered 10 seconds after arming. | 10 milliseconds flash every 2 seconds. |
| 2 - Perimeter Arming | All panels closed. Indication delayed for 2.5 seconds to allow time to process double locking commands. | Two 10 milliseconds flashes every 2 seconds, for 10 seconds. |
| 3 - Volumetric Arming | All panels closed and volumetric sensor armed. Indication delayed for 2.5 seconds to allow time to process double locking commands. | Three 10 milliseconds flashes every 2 seconds, for 10 seconds. |
_files\LoadAsset(2).jpg)
_files\LoadAsset(3).jpg)
| 1 | - | Front transmitter/receiver pair |
| 2 | - | Rear transmitter/receiver pair |
| Trigger No. | Description |
|---|---|
| 0 | No trigger stored |
| 1 | Driver door ajar switch |
| 2 | Front passenger door ajar switch |
| 3 | Rear LH door ajar switch |
| 4 | Rear RH door ajar switch |
| 5 | Tailgate ajar switch |
| 6 | Hood ajar switch |
| 7 | Ignition switch |
| 8 | External key lock turned to unlock |
| 9 | Tilt sensor |
| 10 | Volumetric sensor |
| Fault | Description |
|---|---|
| BBUS Communication Failure | If a response is not received on the BBUS LIN bus within 12 seconds of a status request from the CJB, the BBUS Communication Failure fault code is set. The CJB continues trying to communicate with the BBUS even if a communication failure has occurred. |
| BBUS Internal Fault | If the CJB sends a command (Arm / Disarm / Alarm / Sleep) to the BBUS, and the status from the BBUS does not show the BBUS has responded to the command within 12 seconds, the 'BBUS Internal Fault' fault code is set. |
| BBUS Trigger Source | The BBUS Trigger Source stores the reason for the last BBUS sound cycle. The values which can be stored are: 0 = Not triggered 1 = Due to power interruption 2 = Due to LIN communication interruption 3 = Due to an external command from the CJB |
| Tilt Sensor Internal Fault | If the CJB sends a command (Arm / Disarm / Sleep) to the tilt sensor in the BBUS, and the status from the BBUS does not show the BBUS has responded to the command within 12 seconds, the 'Tilt Sensor Internal Fault' fault code is set. |
| Volumetric Communication Failure | If a 100 milliseconds pulse response is not received on the Volumetric Trigger line, within 350 milliseconds of an arm command from the CJB, the Volumetric Communication Failure fault code is set. |
| A = Hardwired Connections; F = RF Transmission; N = Medium Speed CAN Bus; O = LIN Bus |
_files\LoadAsset(4).jpg)
| 1 | - | Battery |
| 2 | - | Ignition key |
| 3 | - | RF receiver |
| 4 | - | Left front door ajar switch, lock switch and unlock switch |
| 5 | - | Right front door ajar switch |
| 6 | - | Hood ajar switch |
| 7 | - | Left rear door ajar switch |
| 8 | - | Right rear door ajar switch |
| 9 | - | Tailgate ajar switch |
| 10 | - | CJB |
| 11 | - | Diagnostic socket |
| 12 | - | Alarm indicator |
| 13 | - | Left horn |
| 14 | - | Right horn |
| 15 | - | Right side repeater lamp |
| 16 | - | Right tail turn signal indicator lamp |
| 17 | - | Right front turn signal indicator lamp |
| 18 | - | Left front turn signal indicator lamp |
| 19 | - | Left tail turn signal indicator lamp |
| 20 | - | Left side repeater lamp |
| 21 | - | Volumetric sensor |
| 22 | - | BBUS |
| 23 | - | Transponder coil |
| 24 | - | Ignition switch |
| 25 | - | Fusible link 11E, battery junction box |
| 26 | - | Fusible link 17E, battery junction box |