| : | Jan 7, 2008 |

| 1 | - | SRS (supplemental restraint system) warning indicator |
| 2 | - | Driver air bag |
| 3 | - | Clockspring |
| 4 | - | Passenger air bag deactivation indicator |
| 5 | - | Passenger air bag |
| 6 | - | Passenger air bag deactivation switch (all except NAS (north American specification) and Australia) |
| 7 | - | RCM (restraints control module) |

| 1 | - | Door side impact sensor |
| 2 | - | B pillar side impact sensor |
| 3 | - | Rear quarter side impact sensor |
| 4 | - | Third row side air curtain |
| 5 | - | First and second row side air curtain |
| 6 | - | Safety belt pretensioner and buckle switch |
| 7 | - | Seat position sensor |
| 8 | - | Occupant classification module (NAS only) |
| 9 | - | Seat cushion pressure sensor (NAS only) |
| 10 | - | Seat cushion pressure pad (NAS only) |
| 11 | - | Safety belt tension sensor (NAS only) |
| 12 | - | Side air bag |
| 13 | - | Front impact sensors |

| 1 | - | Release tool slot and guide channel |
| 2 | - | Inflator stage 1 connector |
| 3 | - | Inflator stage 2 connector |
| 4 | - | Latch spring |
| 5 | - | Locating pin and spring |
| 6 | - | Latch hook |

| 1 | - | Reinforcement lid |
| 2 | - | Chute |
| 3 | - | Passenger air bag |
| 4 | - | In-vehicle crossbeam |
| 5 | - | Mounting bracket |
| 6 | - | Lucar connector |
| 7 | - | Inflator connector |
| 8 | - | Deployment doors |
| Left side air bag shown, right side air bag is mirror image |

| 1 | - | Seat backrest frame |
| 2 | - | Side air bag |
| 3 | - | Cable |
| 4 | - | Inflator |
| Right side air curtain shown, left side air curtain is mirror image |

| 1 | - | Air curtain anchorage points |
| 2 | - | Non inflatable section of air curtain |
| 3 | - | Air curtain clip (manufacturing aid) |
| 4 | - | Front gas guide attachment |
| 5 | - | Inflatable section of air curtain |
| 6 | - | B pillar ramp |
| 7 | - | Securing screws |
| 8 | - | Active tether device |
| 9 | - | Rear tether anchor |
| 10 | - | Rear tether |
| 11 | - | Cant rail clip |
| 12 | - | Gas guide pipe |
| 13 | - | Inflator electrical connector |
| 14 | - | Inflator |
| 15 | - | Inflator mounting bracket |
| Right side air curtain shown, left side air curtain is mirror image |

| 1 | - | Securing screw |
| 2 | - | Air curtain |
| 3 | - | Securing screw |
| 4 | - | Rear tether |
| 5 | - | Gas guide pipe |
| 6 | - | Inflator mounting bracket |
| 7 | - | Inflator |
| 8 | - | Rear tether anchor |
| 9 | - | Tether housing |
| 10 | - | Rear tether |
| 11 | - | Front tether anchor |

| 1 | - | Safety belt buckle |
| 2 | - | Boot |
| 3 | - | Anchor bolt |
| 4 | - | Piston and tube |
| 5 | - | Electrical connectors for inflator and buckle switch |


| 1 | - | Deactivation indicator (NAS and Japan) |
| 2 | - | Deactivation indicator (all except NAS and Japan) |


| 1 | - | Seat cushion |
| 2 | - | Pressure switch |
: All Land Rover vehicles, with the exception of Defender, are equipped
with passenger air bags. Passenger air bags offer well documented benefits
in crash protection for adult front passenger seat occupants but their
deployment can be harmful to children and infants sat in the front
passenger seat of the vehicle. Land Rover recommends that children and
infants are placed in the rear seats of the vehicle.
|
| All new Land Rover vehicles sold in North America comply with the FMVSS208 legislation due to the fitment of the occupant classifications system. |

| 1 | - | Seat cushion |
| 2 | - | Pressure pad |
| 3 | - | Pressure tube |
| 4 | - | Pressure sensor |
| 5 | - | Safety belt tension sensor |
| 6 | - | Occupant classification module |
| Classification | Deactivation Indicator | SRS Warning Indicator |
|---|---|---|
| Seat unoccupied | OFF | OFF |
| Occupied inhibit | ON | OFF |
| Occupied allow | OFF | OFF |
| Indeterminate state | OFF | ON |

| 1 | - | Seat frame |
| 2 | - | Mounting plate |
| 3 | - | Seat position sensor |
| 4 | - | Electrical connector |
| 5 | - | Target plate |
| 6 | - | Seat base |


| 1 | - | Electrical connector for steering wheel switch packs and horn |
| 2 | - | Inner rotor |
| 3 | - | Outer housing securing lug |
| 4 | - | Driver air bag link leads |
| 5 | Viewing window | |
| 6 | - | Drive peg |
| 7 | - | Stopper |
| 8 | - | Electrical connector for steering column harness |
| 9 | - | Outer cover |

| A = Hardwired connections; D = High speed CAN (controller area network) bus |

| 1 | - | Fusible link 11E, BJB (battery junction box) |
| 2 | - | Battery |
| 3 | - | Left front impact sensor |
| 4 | - | Right front impact sensor |
| 5 | - | Left side impact sensor |
| 6 | - | Right side impact sensor |
| 7 | - | Passenger air bag deactivation switch |
| 8 | - | Left safety belt buckle sensor |
| 9 | - | Instrument cluster |
| 10 | - | Right safety belt buckle sensor |
| 11 | - | Occupant detection pressure sensor |
| 12 | - | Seat position sensor |
| 13 | - | RCM (restraints control module) |
| 14 | - | Fuse 9P, CJB (central junction box) |
| 15 | - | Ignition switch |
| 16 | - | Fuse 68P, CJB (central junction box) |
| 17 | - | Passenger air bag deactivation indicator |
| A = Hardwired connections; D = High speed CAN (controller area network) bus |

| 1 | - | Fusible link 11E, BJB (battery junction box) |
| 2 | - | Battery |
| 3 | - | Left front impact sensor |
| 4 | - | Right front impact sensor |
| 5 | - | Left side impact sensor |
| 6 | - | Right side impact sensor |
| 7 | - | Left safety belt buckle switch |
| 8 | - | Right safety belt buckle switch |
| 9 | - | Instrument cluster |
| 10 | - | Safety belt tension sensor |
| 11 | - | Occupant classification module |
| 12 | - | Pressure pad and sensor |
| 13 | - | Seat position sensor |
| 14 | - | RCM (restraints control module) |
| 15 | - | Fuse 9P, CJB (central junction box) |
| 16 | - | Ignition switch |
| 17 | - | Fuse 68P, CJB (central junction box) |
| 18 | - | Passenger air bag deactivation indicator |
| A = Hardwired connections |

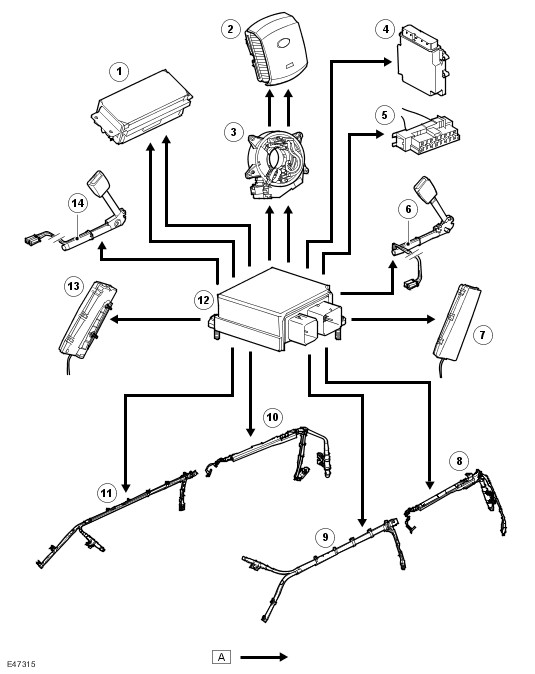
| 1 | - | Passenger air bag |
| 2 | - | Driver air bag |
| 3 | - | Clockspring |
| 4 | - | ECM (engine control module) |
| 5 | - | Diagnostic socket |
| 6 | - | Left pretensioner |
| 7 | - | Left side air bag |
| 8 | - | Left third row side air curtain |
| 9 | - | Left first and second row side air curtain |
| 10 | - | Right third row side air curtain |
| 11 | - | Right first and second row side air curtain |
| 12 | - | RCM (restraints control module) |
| 13 | - | Right side air bag |
| 14 | - | Right pretensioner |